
1. Open and Closed Tanks
A key consideration when selecting a StormBlaster™ system is whether the tank is open or closed. The system can be adapted for either configuration, although the method of installing and positioning the unit will differ.
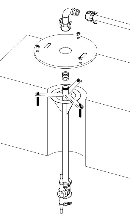
Roofed Tanks
Roofed tanks are generally easier to work with because the StormBlaster™ can be mounted through a downpipe in the roof. This allows the unit to be lifted out through a manhole for maintenance. In these setups, the StormBlaster™ is usually positioned centrally, providing optimal coverage and cleaning efficiency. The position is flexible and can be adjusted to achieve the best results.

Open Tanks
Open tanks are more challenging due to the lack of a roof, but they are also the most common type. In these tanks, the StormBlaster™ is typically mounted on a swing arm, allowing it to be positioned two to three metres into the tank and then swung back to the side when maintenance is required. Even if a central position cannot be achieved, the swing arm ensures effective cleaning across the tank.

2. Tank Size and the Use of Multiple Units
Tank size plays a major role in determining how many StormBlasters are required. Larger tanks may need multiple unitsto achieve full coverage. To design the system for these cases, the tank is divided into conceptual “virtual tanks”. Each StormBlaster™ is responsible for cleaning one virtual tank. These divisions are not physical barriers but design guidelines that ensure every area is covered.
Multiple units can be operated in sequence rather than all at once. This reduces the load on the pump and ensures each StormBlaster™ receives the correct flow and pressure. As a general guide, one StormBlaster™ is required for every 120 square metres of tank floor. In very wide tanks, additional considerations are needed to ensure the cleaning jets reach all areas.
3. Wide Tanks
In tanks wider than 10 to 15 metres, StormBlasters may need to be installed on both sides to ensure complete coverage. In these cases, the tank is divided into virtual tanks along both its width and length. For example, a tank measuring 30 metres by 25 metres may require eight StormBlasters, each cleaning its own virtual section. This ensures that even tanks with significant width are cleaned thoroughly.

4. Tank Shape
The shape of the tank also influences the system design. While most tanks are rectangular or circular, some have irregular shapes. Regardless of the shape, the same design principles are applied.
Rectangular and Circular Tanks
In standard tank shapes, the tank is divided into virtual sections, with each section allocated its own StormBlaster™. Units are installed either on swing arms for open tanks or through downpipes for roofed tanks.

Irregular‑Shaped Tanks
For tanks with more unusual shapes, creative installation solutions may be required. For instance, in a large circular tank, StormBlasters may be mounted on swing arms, with each unit responsible for a quadrant. The flexibility of the swing arm ensures effective coverage even in challenging layouts.
5. Side‑by‑Side Tanks
When multiple tanks are positioned side by side, access to the central tanks can be limited. This can make positioning the StormBlasters more difficult, particularly in open‑tank layouts where swing arms are used. In these cases, custom solutions such as walkways between tanks may be necessary to allow proper installation. Outer tanks can still be serviced using swing arms on the external sides, ensuring full system coverage.

Conclusion
The StormBlaster™ system is highly adaptable, making it suitable for an extensive range of storm tank configurations - from open and roofed tanks to irregular multi‑tank layouts. Its flexibility allows it to be tailored to almost any tank size or shape, ensuring effective, consistent cleaning. With over 120 StormBlasters in operation across the UK, Ireland, and France, the system has proven its capability in a wide variety of installations. Whether the tank is circular, rectangular, or unconventional in shape, there is a StormBlaster™ configuration that can deliver excellent cleaning performance.